机情烩:苹果革命性设计!折叠屏iPhone曝光:完
机情烩:鲁大师机情烩汇集每日重点,有趣机情。要买机、喜欢搞机的小伙伴欢迎随时评价交流。
苹果革命性设计!折叠屏iPhone曝光:完美去除刘海有关苹果即将推出可折叠设备一事也算是老生常谈了。前段时间,有媒体曾经报道称苹果的可折叠设备将不会采用类似三星Glaxy Fold那样的可折叠屏幕,而是用两块屏幕组合而成,更接近于微软Surface Duo的设计,但这并不代表苹果没有过要推出单屏幕可折叠设备的想法。
7月6日讯,据外媒MSPoweruser报道,苹果在今年三月份申请的一项可折叠设备设计专利曝光,这份专利将通过一种独特的柔性屏幕设计方法来解决折叠屏的一些通病,着实令人期待。

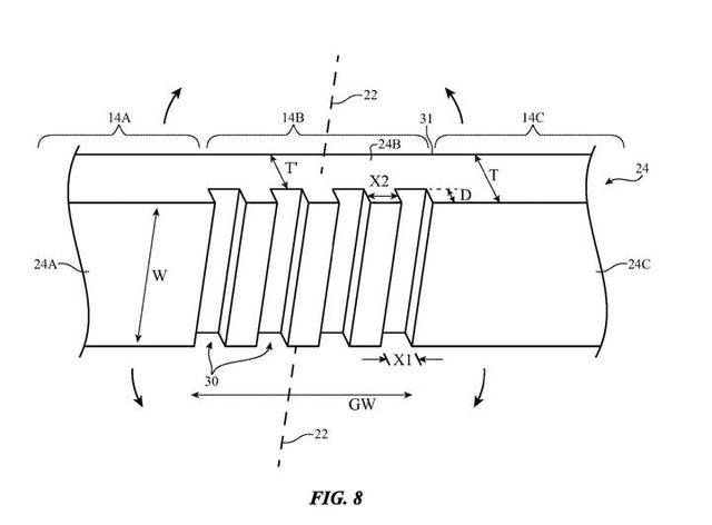
如专利图所示,苹果希望能够在柔性屏幕折叠处的里侧切割出一系列凹槽,并使用和屏幕原材质折射率相同的弹性聚合物或液体填充凹槽,使得凹槽实际上不会影响到屏幕的显示效果。当用户对屏幕进行折叠的时候,凹槽处的弹性聚合物就会进行压缩,当屏幕被再次打开时,凹槽处的弹性聚合物就会被释放开来以填满凹槽,苹果希望能够通过这样的设计来解决折痕问题。
苹果对可折叠设备一直颇有研究,早在2017年的时候,它就已经申请过折叠屏手机的相关专利了。直到今年3月份,苹果依然在申请折叠屏相关的设计专利,从前段时间曝光的通过磁性铰链来连接两个显示面板的可折叠设备,到今天曝光的全新折叠屏幕设计。可以看出苹果对进军可折叠设备市场早有准备,确实有可能在2021年推出折叠iPhone。

根据以往爆料显示,今年下半年,小米还将发布MIX系列新机、小米CC10系列与另一款小米10 Pro「超大杯」机型。而在近日据XDA报道,成员Deic在MIUI 12中发现了两款小米新机的部分信息。
根据该消息源显示,两款小米新机的代号为「Gauguin」和「Gauguin Pro」,分别配备6400万像素主摄与1.08亿像素主摄。该信息源表示从其他细节中得出,该机型应该不是Redmi系列机型,将会搭载高通骁龙系列芯片,在中国、印度等地区上市发售。根据目前的情况来看,两款机型极有可能是小米CC10小米CC10 Pro,但也有可能包括小米10 Pro「超大杯」机型。而根据目前的信息显示,小米将会在8月正式官宣推出新品手机的消息。

三星Fold 2已通过3C认证,该机将随附25W充电器,有望在下个月随Note 20、Note 20 Ultra和Z Flip 5G一起发布。
Fold 2有望配备7.7英寸可折叠大屏幕,有UTG(超薄玻璃)保护。该屏幕拥有120Hz刷新率。它运行基于Android 10的One UI 2.5。这款可折叠手机预计将提供256GB和512GB存储版本。
与Galaxy Note 20 Ultra相似,Galaxy Fold 2将在后部配备108MP主摄像头、潜望式光学变焦摄像头和超广角摄像头的三摄像头。其他功能可能包括立体声扬声器、Samsung Pay、Wi-Fi 6、蓝牙 5.0、GPS、NFC、USB Type-C端口、无线充电和反向无线充电。
三星Fold 2将配置型号为EP-TA800的充电器。该充电器的最大功率输出为9V(2.27A)或11V(2.25A),因此总功率输出为25W。

责任编辑:


